blue DAT • infra DAT
mdm TOOL
blue DAT • infra DAT
mdm TOOL
Dies ist eine alte Version des Dokuments!
Klasse | Symbol/Kennzeichen | Beschreibung | Referenzen (Auswahl) | ID | |
---|---|---|---|---|---|
ELIAS | K2009 | ||||
Geradheit | ![]() | Zulässige Formabweichung einer Linie oder Gruppe von Linien von einer Referenzgeraden bzw. von Referenzgeraden. Standardmaßeinheit Millimeter (mm) Beispiel: ![]() | • DIN EN ISO 1101:2014 • DIN EN ISO 12780-1:2014 | 7 | 100 |
Geradheit (Gestalt ⌀) Der Toleranzbereich hat die Gestalt eines Zylinders, siehe Beispiel. Anmerkung Verfügbar ab Programmversion 1.4.1.19 | • DIN EN ISO 1101:2014 • DIN EN ISO 12780-1:2014 | 121 | 100 | ||
Ebenheit | ![]() | Zulässige Formbweichung einer Fläche von einer Referenzebene. Standardmaßeinheit Millimeter (mm) Beispiel: ![]() | • DIN EN ISO 1101:2014 • DIN EN ISO 12781-1:2011 | 8 | 101 |
Rundheit | ![]() | Zulässige Formabweichung einer kreisförmigen Linie oder Gruppe von kreisförmigen Linien von einem Referenzkreis bzw. von Referenzkreisen. Standardmaßeinheit Millimeter (mm) Beispiel: ![]() | • DIN EN ISO 1101:2014 • DIN EN ISO 12781-1:2011 | 9 | 102 |
Zylindrizität | ![]() | Zulässige Formabweichung einer Zylinderfläche von einem Referenzzylinder. Standardmaßeinheit Millimeter (mm) Beispiel: ![]() | • DIN EN ISO 1101:2014 • DIN EN ISO 12180-1:2011 | 10 | 103 |
Linienprofil | ![]() | Zulässige Abweichung einer Profillinie oder Gruppe von Profillinien von einem Referenzlinienprofil bzw. von Referenzlinienprofilen. Standardmaßeinheit Millimeter (mm) Beispiel: ![]() | • DIN EN ISO 1101:2014 • DIN EN ISO 1660:2013 | 11 | 104 |
Flächenprofil | ![]() | Zulässige Abweichung einer Profilfläche von einem Referenzflächenprofil. Standardmaßeinheit Millimeter (mm) Beispiel: ![]() | • DIN EN ISO 1101:2014 • DIN EN ISO 1660:2013 | 12 | 105 |
Parallelität | ![]() | Zulässige Richtungsabweichung einer Linie, Gruppe von Linien oder Ebene von einer bzw. mehereren parallel dazu orientierten Referenzgeraden oder -ebene/n. Standardmaßeinheit Millimeter (mm) Beispiel: ![]() | • DIN EN ISO 1101:2014 | 13 | 108 |
Parallelität (Gestalt ⌀) Der Toleranzbereich hat die Gestalt eines Zylinders, siehe Beispiel. Anmerkung Verfügbar ab Programmversion 1.4.1.19 | • DIN EN ISO 1101:2014 • DIN EN ISO 12780-1:2014 | 122 | 108 | ||
Rechtwinkligkeit | ![]() | Zulässige Richtungsabweichung einer Linie, Gruppe von Linien oder Ebene von einer bzw. mehereren rechtwinklig dazu orientierten Referenzgeraden oder -ebene/n. Standardmaßeinheit Millimeter (mm) | • DIN EN ISO 1101:2014 | 14 | 107 |
Rechwinkligkeit (Gestalt ⌀) Der Toleranzbereich hat die Gestalt eines Zylinders, siehe Beispiel. Anmerkung Verfügbar ab Programmversion 1.4.1.19 | • DIN EN ISO 1101:2014 • DIN EN ISO 12780-1:2014 | 123 | 107 | ||
Neigung | ![]() | Zulässige Richtungsabweichung einer Linie, Gruppe von Linien oder Ebene von einer bzw. mehereren winklig (aber nicht rechtwinklig) dazu orientierten Referenzgeraden oder -ebene/n. Standardmaßeinheit Millimeter (mm) Beispiel: ![]() | • DIN EN ISO 1101:2014 | 15 | 106 |
Neigung (Gestalt ⌀) Der Toleranzbereich hat die Gestalt eines Zylinders, siehe Beispiel. Anmerkung Verfügbar ab Programmversion 1.4.1.19 | • DIN EN ISO 1101:2014 • DIN EN ISO 12780-1:2014 | 124 | 106 | ||
Position | ![]() | Zulässige Ortsabweichung eines/r Punkts, Achse oder Ebene von einem/r dazu positionierten Referenzpunkt, Referenzgeraden oder -ebene. Standardmaßeinheit Millimeter (mm) Beispiel: ![]() | • DIN EN ISO 1101:2014 • DIN EN ISO 5458:1999 | 22 | 109 |
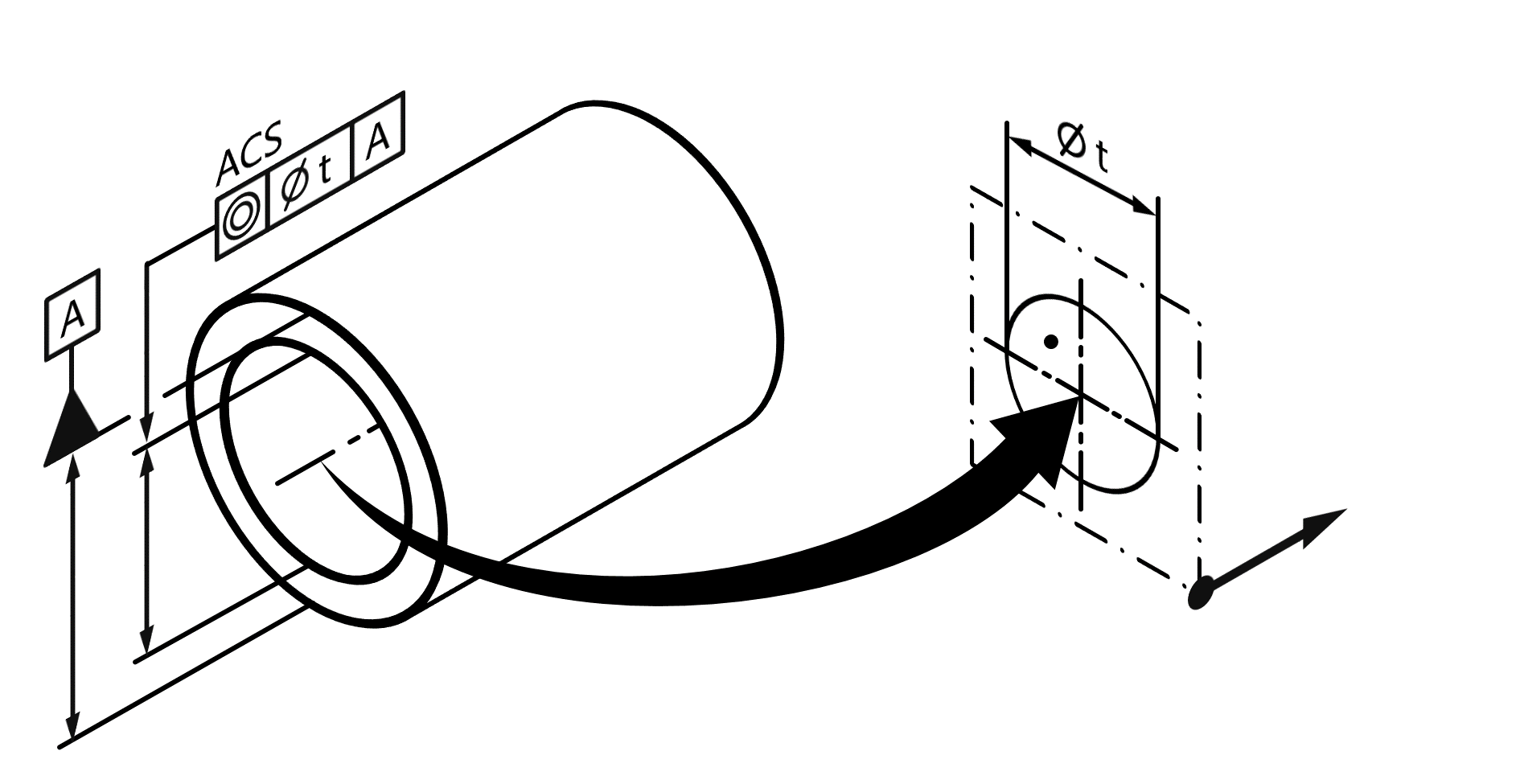
Position (Gestalt ⌀) Der Toleranzbereich hat die Gestalt eines Zylinders, siehe Beispiel. Anmerkung Verfügbar ab Programmversion 1.4.1.19 | • DIN EN ISO 1101:2014 • DIN EN ISO 12780-1:2014 | 125 | 109 | ||
Position (Gestalt S⌀) Der Toleranzbereich hat die Gestalt einer Kugel, siehe Beispiel. Anmerkung Verfügbar ab Programmversion 1.4.1.19 | • DIN EN ISO 1101:2014 • DIN EN ISO 12780-1:2014 | 126 | 109 | ||
Konzentrizität | ![]() | Zulässige Ortsabweichung eines Punkts von einem dazu konzentrischen Referenzpunkt. Standardmaßeinheit Millimeter (mm) Beispiel: ![]() | • DIN EN ISO 1101:2014 | 21 | 110 |
Konzentrizität (Gestalt ⌀) Der Toleranzbereich hat die Gestalt eines Zylinders, siehe Beispiel. Anmerkung Verfügbar ab Programmversion 1.4.1.19 | • DIN EN ISO 1101:2014 • DIN EN ISO 12780-1:2014 | 128 | 110 | ||
Koaxialität | ![]() | Zulässige Ortsabweichung einer Geraden von einer koaxial dazu liegenden Referenzgeraden. Standardmaßeinheit Millimeter (mm) Beispiel: ![]() | • DIN EN ISO 1101:2014 | 89 | 114 |
Koaxialität (Gestalt ⌀) Der Toleranzbereich hat die Gestalt eines Zylinders, siehe Beispiel. Anmerkung Verfügbar ab Programmversion 1.4.1.19 | • DIN EN ISO 1101:2014 • DIN EN ISO 12780-1:2014 | 127 | 110 | ||
Symmetrie | ![]() | Zulässige Ortsabweichung eines/r Punkts, Gruppe von Punkten, Geraden oder Ebene von einem/r bzw. mehreren symmetrisch dazu liegenden Referenzpunkt/en, Referenzgeraden oder -ebene/n. Standardmaßeinheit Millimeter (mm) Beispiel: ![]() | • DIN EN ISO 1101:2014 | 20 | 111 |
Radialer Rundlauf | ![]() | Zulässige radiale Laufabweichung einer kreisförmigen Linie oder Gruppe von kreisförmigen Linien zu einem bzw. mehereren koaxial dazu liegenden Referenzkreis/en. Standardmaßeinheit Millimeter (mm) Beispiel: ![]() | • DIN EN ISO 1101:2014 | 16 | 112 |
Axialer Rundlauf | ![]() | Zulässige axiale Laufabweichung einer kreisförmigen Linie oder Gruppe von kreisförmigen Linien zu einem bzw. mehereren koaxial dazu liegenden Referenzkreis/en. Auch Planlauf genannt. Standardmaßeinheit Millimeter (mm) Beispiel: ![]() | • DIN EN ISO 1101:2014 | 17 | 118 |
Radialer Gesamtrundlauf | ![]() | Zulässige radiale Laufabweichung einer Rotationsfläche zu einer koaxial dazu liegenden Rotationsfläche. Standardmaßeinheit Millimeter (mm) Beispiel: ![]() | • DIN EN ISO 1101:2014 | 18 | 113 |
Axialer Gesamtrundlauf | ![]() | Zulässige axiale Laufabweichung einer Ebene oder Rotationsfläche zu einer koaxial dazu liegenden Ebene oder Rotationsfläche. Auch Gesamtplanlauf genannt. Standardmaßeinheit Millimeter (mm) Beispiel: ![]() | • DIN EN ISO 1101:2014 | 19 | − |